项目简介
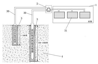
一种基于浅层地表热能技术的调温床,包括床头、床板、床腿、床垫、热源装置和控制装置,所述调温床的热源装置为浅层地表热能热源装置,通过埋于浅层地表的地下土壤中的浅层地表热能采集器采集浅层地热能源,并通过管道中的热流体将所采集到的浅层地热能源传输给设置在所述床垫内的浅层地表热能换热器与所述调温床的床垫进行热量交换,从而实现对所述床垫的加热或制冷的功能。本发明通过采用低碳环保、节能卫生的浅层地表热能的新能源技术,将低品位的浅层地表热能直接运用到的床体或床垫中,以实现对床体或床垫进行加热或制冷,减少能耗,节约资源,具有非常广阔的应用前景。
交易安全保障
1、买家交易款项将暂保管于猪八戒网担保账户,猪八戒网全程资金代管,保障买卖双方资金安全。
2、选择委托经纪人服务,均由交易经纪人验证交易品和买卖双方身份信息真实有效性。
3、猪八戒网专属律师事务所将对委托交易全程监督,确保所有交易合同及相关文件合法有效。
4、选择委托经纪人服务,并由猪八戒网向卖家代付定金;待国家知识产权局下发手续合格通知书、并经猪八戒网核实后,支付卖家尾款。
5、选择委托经纪人服务,将由交易经纪人代办国家手续,客户随时可查进度。









