项目简介
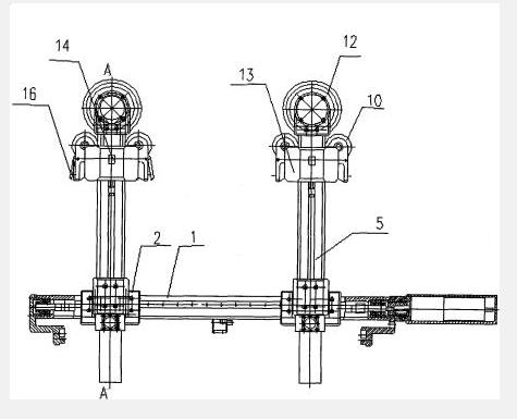
本发明涉及一种用于输电线路巡检的机器人,它包括移动机体,移动机体上设有两个能改变相对距离的机体滑台,移动机体内部设有一正反丝杠,正反丝杠包括正丝杆段和反丝杆两段,两段丝杠上均设有丝杠螺母,丝杠螺母与机体滑台固接,正反丝杆一端设有第一电机;机体滑台一侧具有下窄上宽的Y型凹槽,每个机体滑台上分别连接有一个回转机构,回转机构上固设有机械臂,机械臂从下至上依次设有夹紧机构和行走机构,机械臂内设有由第二电机控制的第二丝杠,第二丝杠外设有第二锁紧螺母。本发明结构简单,操作方便,安全高效,具有滚动或爬行通过输电线上障碍物的能力,并且具有适应变曲率轨道仿形运动功能。
交易安全保障
1、买家交易款项将暂保管于猪八戒网担保账户,猪八戒网全程资金代管,保障买卖双方资金安全。
2、选择委托经纪人服务,均由交易经纪人验证交易品和买卖双方身份信息真实有效性。
3、猪八戒网专属律师事务所将对委托交易全程监督,确保所有交易合同及相关文件合法有效。
4、选择委托经纪人服务,并由猪八戒网向卖家代付定金;待国家知识产权局下发手续合格通知书、并经猪八戒网核实后,支付卖家尾款。
5、选择委托经纪人服务,将由交易经纪人代办国家手续,客户随时可查进度。









